La structure des classes

1. Le passage de classe


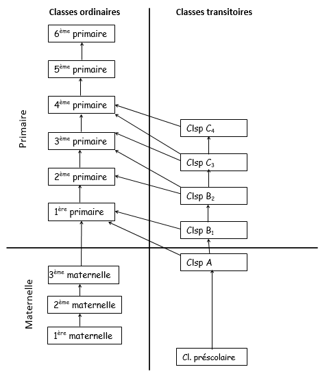
Le processus de passage des classes est bien défini par le programme national du moins à ce qui concerne la structure ordinaire des classes.
L’enfant est donc appelé à atteindre les objectifs assignés à sa classe avant de passer à une autre. Par contre, dans les classes transitoires, le passage des classes est déterminé par le niveau atteint par l’enfant.

a) Le passage de classe dans la structure ordinaire :
- Au niveau de maternelle : l’enfant y accède par la 1ère maternelle après avoir atteint 3 ans d’âge ; ensuite il passe en 2ème maternelle à l’âge de 4 ans ; enfin, il va en 3ème maternelle à 5 ans.
Il faut retenir qu’au niveau de maternelle, l’accès dans une classe est d’abord fonction de l’âge de l’enfant. Un enfant qui arrive pour la 1ère fois en maternelle à l’âge de 5 ans, est directement inscrit en 3ème au lieu de la 1ère maternelle.
- Au niveau de primaire, tout parcours doit commencer par la 1ère primaire. Lorsque l’enfant a acquis les compétences requises pour la 1ère primaire en français, en maths et dans les autres branches, il pourra passer en 2ème primaire, et ainsi de suite de la 2ème à la 3ème année, de la 3ème à la 4ème année, de la 4ème à la 5ème, et enfin de la 5ème à la 6ème année.

b) Le passage des classes dans la structure transitoire



- Classe spéciale A : les enfants de cette classe, après avoir fait le programme de la maternelle en une année, sont sensés passé en 1ère année primaire ou en classe spéciale B1 si le rythme d’apprentissage ne leur permet pas de faire la 1ère année primaire en une année.

- Classe spéciale B1 : à l’issue de cette classe, les enfants passent en 1ère primaire pour terminer le programme commencé en maths et en français ; ou carrément, ils passent en classe spéciale B2 pour terminer le programme de 1ère primaire et commencer celui de 2ème primaire. Ce 2ème cas s’applique pour les enfants qui ont amélioré leur rythme d’apprentissage et qui doivent être rattrapés rapidement pour récupérer un retard scolaire.

- Classe spéciale B2 : les enfants qui auront terminé le niveau de 2ème primaire en français comme en maths devront passer en 3ème primaire ; sinon, ils seront admis en classe spéciale C3 pour consolider le programme de 2ème primaire et entamer celui de 3ème.

- Classe spéciale C3 : l’enfant qui sortira de cette classe ira en 3ème primaire pour consolider son niveau avant de passer en 4ème primaire l’année suivante ; ou bien, il pourra faire la C4 pour consolider le niveau de 3ème primaire et entamer celui de la 4ème primaire. Classe spéciale C4 : à l’issue de cette classe, l’enfant va passer en 4ème primaire afin de bien se préparer à affronter le degré terminal.